Torch Electric Group has established a complete production workshop for power fittings, lightning protection equipment, insulators, cable accessories, zinc oxide lightning arresters, pole mounted circuit breakers, isolation switches, fuses, etc. It has a dust-free assembly workshop, testing center, technical research and development center, and mold center.
Category:Insulation Piercing Connector
Address:No.251 Jingliu Road,Yueqing Economic Development Zone,Yueiqng City,Zhejiang Province,China
Phone:0577-62655203
Fax:0577-62655202
Mailbox:huojudl@163.com
Website:http://www.cnhuoju.com/
National Hotline

400-0577-203

Product parameters

FHJ OHL Lightning Clamp

Application

When struck by direct lightning or lightning induction, the traditional overhead line will be burned out immediately at the junction of its insulator. This has become a very big problem in the power transmission system until the invention of lightning proof clamp.

Principle and Features

The lightning proof clamp is to be fixed on the conductor close to the insulator. When the lightning voltage reached a certain degree, flashover appears and a short-circuiting ring forms between the clamp's electric arc arm and the earth lug. Then the electric arc moves to the arcing arm and burns to release the extra energy and protect the conductor and insulators from damage.

The lightning proof clamps, especially the piercing clamp for 10kv insulated conductor, are designed with a special piercing structure and electrode. They are easy for installation, safe for the power connection, and do no harm to the conductors.

We hold the new pattern design patent and have the clamps pass the quality inspection by Wuhan HV Research Institute.

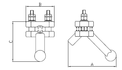
Product Structure Diagram




Condition of Usage

  1. Environmental temperature: -40℃ ~ +50℃;
  2. Altitude: up to 1000m;
  3. Power frequency: 50~60Hz;
  4. Maximum wind speed: 35m/s;
  5. Maximum seismic intensity: 8 degree.

Model Instruction

FHJ - □

  • Applicable conductor range
    • Default: Piercing type, with insulating cover, suitable for 10kv insulated conductor
    • L: Suitable for the bare conductor without insulating cover
  • FHL-Protective lightning arcing hardware

Clamp Selection Table


Cat.No. Voltage (kV) Conductor Range (mm2) A(mm) B(mm) C(mm)
FHJ-50~120 10 50~120 135 76 105
FHJ-150~240 10 150~240 135 76 105
FHJ-50~120L 10 50~120 135 76 105
FHJ-150~240L 10 150~240 135 76 105

Applicable Insulator and Installation Data



Insulator Type P15 P20 P15/300 PS15/500
Distance D(mm) 345 ± 10 285 ± 10 285 ± 10 285 ± 10
Distance L(mm) 130~150 150~180 150 ± 15 160 ± 15

联系我们

For more information, please feel free to consult online

Welcome to Hotline, we will provide you with detailed answers!

Customized hotline:400-0577-203Online consultation

Follow us

Copyight @ Torch Electric Group Co., Ltd. AI rights reserved